臥式管道離心泵用于輸送清潔水和其他物理化學性質類似于清潔水的液體。適用于工業和城市給排水,高層建筑增壓輸水,花園灑水灌溉,消防增壓,長途運輸,暖通空調和制冷循環,衛生間等冷熱水循環增壓及設備配套使用 。
臥式管道離心泵的安裝方法
1.臥式管道離心泵分硬性聯接安裝和柔懷聯接安裝兩種。
2.安裝前應檢查機組緊固件有無松動現象,泵體流道有無異物堵塞,以免臥式管道離心泵運行時損壞葉輪和泵體。
3.安裝時必須擰緊地腳螺栓,以免起動時振動對泵性能的影響。
4.安裝時管道重量不應加在水泵上,以免使臥式管道離心泵變形。
5.安裝后撥動泵軸,葉輪應無磨擦聲或卡死現象,否則應將泵拆開檢查原因。
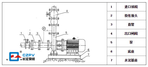
6.為了維修方便和使用安全,在它的進出口管路上各安裝一只調節閥及在出口附近安裝一只壓力表,以保證在額定揚程和流量范圍內運行,確保臥式管道離心泵正常運行,增長該泵的使用年限,使其經久耐用。
從管道安裝技術上,吸水管道要求有嚴格的密封性,不能漏氣、漏水,否則將會破壞臥式管道離心泵進水口處的真空度,使它的出水量減少,嚴重時甚至抽不上水來。因此,要認真地做好管道的接口工作,保證管道連接的施工質量。
以上是上海長征水泵對臥式管道離心泵的安裝方法進行的總結。


CZW型臥式管道增壓離心泵
LG、LG-B型-多級立式不銹鋼礦用多級離心泵
czl系列單級單吸立式管道離心泵
